


![]()
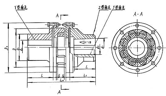
LMD(原MLZ)型單法蘭型梅花彈性聯軸器主要由兩個帶凸齒密切嚙合并承受徑向擠壓以傳遞扭矩,當兩軸線有相對偏移時,彈性元件發生相應的彈性變形,起到自動補償作用。
梅花形聯軸器是將一個整體的梅花形彈性環裝在兩個形狀相同的半聯軸器的凸爪之間,以實現兩半聯軸器的連接。通過凸爪與彈性環之間的擠壓傳遞動力,通過彈性環的彈性變形補償兩軸相對偏移,實現減振緩沖。這種聯軸器已標準化,GB/T5272-2002制定的五種結構形式:LM形(基本型)、LMD型(單法蘭型)、LMS型(雙法蘭型)、LMZ-I型(分體式制動輪型)和LNZ-II(整全式制動輪型)。每種形式均有14個規格,它們適用的軸孔直徑d=12-160mm,軸孔長度L=35-135mm,公稱轉矩T=25-25000N.m,許用轉速[n]=1500-15300r.min。

1.LMD梅花形彈性聯軸器(MLZ梅花形彈性聯軸器)主要由兩個帶凸爪的半聯軸器和中間的彈性體組成。中間彈性體與兩個半聯軸器的凸爪密切嚙合并承受徑向周向擠壓以傳遞扭矩,當兩軸線有相對位移時,中間彈性體發生相應的彈性變形,起到自動補償位移的作用。
2.梅花形彈性聯軸器主要適用于中等載荷,起動頻繁、經常正反轉、高中低,工作性的場合,不適宜重載的場合。例如:冶金、礦山、石油、化工、起重、運輸、輕工、紡織、 水泵、風機等。工作場合溫度 -35℃~+80℃,轉矩范圍為45~25000,轉速范圍為1500~8500r/min。
3.與其它聯軸器相比,LMD梅花形彈性聯軸器(MLZ梅花形彈性聯軸器)具有以下特點:
?。?)工作 定,具有良好的減振、緩沖和位移補償性能,點絕緣性能好。
?。?)結構簡單,徑向尺寸小,重量輕,轉動慣量小,適用于中高速場合。
?。?)具有較大的軸向、徑向和角向補償能力。
?。?)聚氨酯彈性元件耐油,承載能力大,使用壽命長, 。
(5)聯軸器無需潤滑,維護工作量少,可連續長期運行。